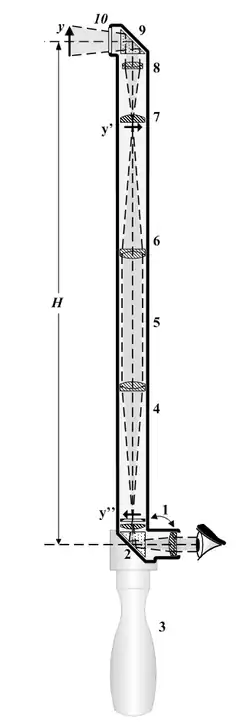
Periscopio

1 - Oculare
2 - Prisma diagonale
3 - Maniglia
4 - 6 - Lenti costruttive
5 - Tubo periscopio
7 - Lente di campo
8 - Lente
9 - Prisma diagonale di testa
10 - Finestra

A - Periscopio con due specchi piani.
B - Periscopio con due prismi ad angolo retto.
1 - 2 - Specchi piani.
3 - 4 - Prismi ad angolo retto.
5 - 6 - Occhio osservatore.
7 - 8 - Tubo periscopio.
H - Altezza ottica periscopio.

Il periscopio è un tubo alle cui estremità vi sono degli specchi paralleli tra loro e posti ad un angolo di 45° rispetto alla linea passante per essi. In quelli più complessi è costituito da un insieme di prismi che riportano la visione su un piano diverso da quello iniziale, permettendo così una visione a giro d'orizzonte, mantenendo nascosto l'osservatore. Il periscopio fu utilizzato nei sommergibili, nei carri armati e nelle trincee durante la prima guerra mondiale.
Storia
Il primo utilizzo del periscopio sembra vada attribuito a Johann Gutenberg, l'inventore della stampa, che lo usò per consentire ai pellegrini di vedere sopra le teste della folla ad una festa religiosa svoltasi ad Aquisgrana nel XV secolo. Simon Lake utilizzò periscopi nei suoi sottomarini nel 1902.
Prototipi di periscopi sperimentali erano stati inventati anche in Italia, da Paolo Tiulzi e uno dagli ingegneri navali Russo e Laurenti[1].
Uno sviluppo importante venne da Rudolf Gundlach, che produsse il periscopio girevole, permettendo ai comandanti dei carri armati di avere una visione a 360 gradi senza muoversi.
Galleria d'immagini
-
Periscopio in una trincea britannica. -
Disegno di periscopio ottico Zeiss per sottomarino. -
Periscopio monoculare da attacco per sottomarino. -
Periscopio di un sottomarino. -
Produzione di periscopi.
Note
- ^ (EN) Paolo Triulzi - Le voci della scienza, su museoscienza.org. URL consultato il 20 settembre 2017.
Altri progetti
Wikizionario contiene il lemma di dizionario «periscopio»
Wikimedia Commons contiene immagini o altri file su periscopio
Collegamenti esterni
- (EN) periscope, su Enciclopedia Britannica, Encyclopædia Britannica, Inc.
| Controllo di autorità | Thesaurus BNCF 25293 · LCCN (EN) sh85099940 · BNF (FR) cb12001691g (data) · J9U (EN, HE) 987007536091805171 |
|---|